开启“卖卖卖”模式的万达集团,仍未成功从债务漩涡中脱身。

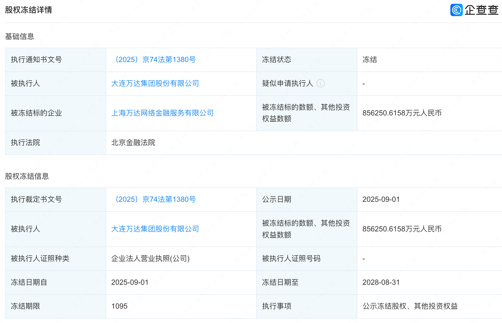
近日,企查查APP显示,大连万达集团股份有限公司(以下简称:万达集团)新增两则股权冻结信息,冻结股权数额合计超94亿元,冻结期限三年,执行法院为北京金融法院。其中,包含上海万达网络金融服务有限公司约85.62亿元股权和上海万达小额贷款有限公司的8.4亿元股权。

工商信息显示,上海万达网络金融服务有限公司成立于2015年3月。据官网,万惠云创包含“万达钱包”和“万达普惠”两大业务。万达钱包是万达集团旗下面向万达业态客群的科技金融产品,智能整合先享后付、小额信贷、充值预付等金融服务功能。万达普惠致力于为普罗大众、小微企业提供有特色、优质便捷的金融服务。上海万达小额贷款有限公司则于2016年1月成立,主要立足万达生态场景,为普罗大众和小微企业提供高效、优质、普惠的综合金融服务。
值得注意的是,这是近一周内,万达出现的第二起大额股权冻结。8月27日,其旗下的大连万达商业管理集团股份有限公司(以下简称:万达商管)被冻结19.79亿元股权。期限同样为三年,执行法院也为北京金融法院。
对于万达频繁出现股权冻结情况,中国企业资本联盟副理事长柏文喜指出,直接原因是债务问题,从公开司法信息看,每一次股权冻结几乎都对应一笔到期未清偿的债务,涉及银行贷款、信托计划等。
“其次,则涉及到此前‘对赌问题’。珠海万达商管Pre-IPO轮融资时,与投资人签署了对赌协议:若2023年底前不能上市,须按8%年息回购约380亿元股权。因上市未能完成,投资人启动追偿,引发了2023~2024年的第一轮密集冻结。”
资料显示,万达集团成立于1992年9月,法定代表人为王健林,是涵盖商业地产、连锁百货、文旅集团和投资管理等产业为主的大型企业集团。
其债务压力,主要源于此前投资失策。2016年,王健林公开叫板迪士尼,并霸气表示要在2020年前将万达文旅城开遍全国。当时下半年,万达就开始在全国各地大规模投资文旅城,这些文旅项目的单体投资都接近400亿。然而资金链很快吃紧、项目推进困难,王健林不得不在2017年忍痛割爱,将全国十来家文旅城整体卖给了融创,同时将近80家五星级酒店打包出售给富力集团。这一系列资产抛售,一定程度缓解了资金压力。
但为了进一步改善局面,王健林又将目光投向资本市场。同样是2016年,因万达在港股估值低迷,他将万达从港股退市去冲击A股,试图通过上市来筹集资金,并大胆签订了“对赌协议”。但监管政策突变,导致其上市梦碎,从2016至2023年,他先后进行了三次上市对赌,但命运并未眷顾,这三次对赌均以失败告终,每一次失败都让万达的债务负担愈发沉重。
截至目前,万达集团共有10条被执行人信息,合计被执行金额为49.29亿元;25条历史被执行人信息,被执行金额89.61亿元;37条股权冻结信息,涉及旗下多家企业,本次冻结数额为最大。

万达集团的现金流情况也不容乐观。截至2024年9月,万达商管的一年内到期的短债超过439亿元,而货币资金只有151亿元。短期债务的集中到期,对万达的现金流构成了巨大挑战。
面对严峻的债务形势,王健林再次启动了大规模的资产抛售模式。去年,万达不仅出售了26座万达广场,还丧失了对珠海万达商管的控制权,这是王健林手中最重要的筹码。太盟等机构联合投资约600亿元后,大连万达商管对珠海万达商管的持股比例从78.83%降至40%,王健林不再掌舵。
今年,万达资产抛售的节奏进一步加快。4月份,王健林作价24.9亿元将万达酒店管理公司100%股权卖给同程旅行。5月份,国家市场监督管理总局批准了由太盟、高和丰德、腾讯、京东潘达、阳光人寿等机构组成的联合体对大连万达商管旗下48家目标公司的收购案,涉及全国39个城市的48座万达广场。7月份,又准备以2.4亿元的价格将快钱金融30%股权卖给中国儒意。
有市场消息称,5月份交易的金额将达到500亿元,会大大缓解万达集团的流动性压力。就在8月25日,这笔交易迎来实质性进展,由太盟、高和丰德、腾讯、京东潘达等13家企业组成的私募基金“苏州宽遇”成立,总出资额224.29亿元。此外,万达还分别与京东、腾讯成立了合资企业。
值得注意的是,71岁的王健林于近期罕见现身。8月20日~21日,王健林在克拉玛依考察招商引资、文旅发展等工作,探讨和当地合作的可能性,也为万达寻求新的可能性。
王健林表示,“克拉玛依就像是新疆的一颗明珠,超出预期,这里的旅游资源丰富,独山子大峡谷、世界魔鬼城景区在中国乃至世界都是独有的。资源禀赋是很好的,就是需要怎么进一步提升,我去看了独库公路,一年有150万辆车经过,怎么样使这种资源能够提升更大化,总体来看,克拉玛依的旅游资源还可以,但是项目本身的规划设计、运营程度,可能有些地方跟先进地区相比可能还是有需要提高的地方。我们也正在探讨和克拉玛依合作的可能性,我们是有兴趣,我们这几方一起合作,全面提升克拉玛依,无论是城市的发展,还是老百姓幸福指数,肯定是对克拉玛依有巨大帮助的。”

